
Standard Timber Show Cage
|
|
| Size | Overall measurements 355mm long × 305mm high × 165mm wide |
| Bottom | 355mm long × 162mm wide × 6mm thick |
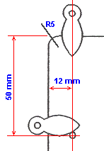
| Sides | 293mm high × 162mm wide × 9mm thick with 25mm radius in top front corner |
| Top | 355mm long × 140mm wide × 6mm thick with 85mm × 30mm kidney shaped hand hole positioned centrally in length and 40mm from rear |
| Back | 355mm long × 230mm high × 3mm thick |
| Sloping roof | 9mm thick positioned 220mm from bottom of cage and 45mm from front of cage. Centre of junction between top of cage and sloping roof to be stiffened by triangular block of wood. |
| Front rail | 70mm high from floor of cage x 9mm thick |
| Door size | 100mm high × 90mm wide externally with sloping bevel cut to top, bottom and left hand edges |
| Right hand edge | To be straight cut |
| Bottom of door | To be 95mm from bottom of cage and centred on side panel |
| Door corners | On the opposite side to the hinges can be radiused up to 5mm |
| Door fasteners | One plain brass desk turn 25mm long fixed by brass screw to side of cage to coincide with a raised head brass screw positioned 12mm in from front left hand edge of door and 50mm from top of the door. One plain brass desk turn 25mm long fixed above top left side of door to line up with side fixing set 12mm in from edge of door |
| Door hinges | Two strong hinges 25mm × 16mm fixed on right hand side of door and 10mm from top and bottom of door |
| Door pull | 25mm × 16 gauge wire black painted S hook in centre of door |
| Perch size | 14mm diameter with both ends cut flush |
| Perch position | Centre of perches and screw holes to be 140mm (external) from bottom of cage and 112mm apart. |
| Perch fixings | Perches to be secured to back of cage with counter sunk screws and brass cup washers and to centre crossbar on wire front of cage by 3mm deep horizontal saw cut |
| Wire front | Comprises of 21 × 14 gauge unpainted stainless steel bars at 16mm centres with 20mm radius at top and welded to 10 gauge bottom, middle and two top crossbars |
| Middle bar | To be on outside of cage |
| Centre of middle crossbar | To be 140mm above bottom of cage |
| Front | To be fixed to cage by three extended wires at bottom and top |
| Centre wire | at the top of the cage to be cut to avoid excessive protrusion |
| Drinker | White plastic finger drawer type not to exceed 50mm in overall length.The drinker be placed between the 4th and 5th wire from the left and resting on the middle bar at all times |
| Colours | White matt inside. Black gloss outside including top of front rail |
Cages produced in alternative materials must comply with all internal and external dimensions and give a similar appearance to a wooden cage when viewed from the front.

N.B. Revised 14th August 1998 in Karlsruhe, Germany.